Ovo je novi iznos najniže penzije u Srbiji
Sa najnovijom povišicom, najniža penzija u Srbiji povećana je na 31.092 dinara.
12:42
11.1.2026.
1 d
Četvrtak, 07.12.2023.
11:14
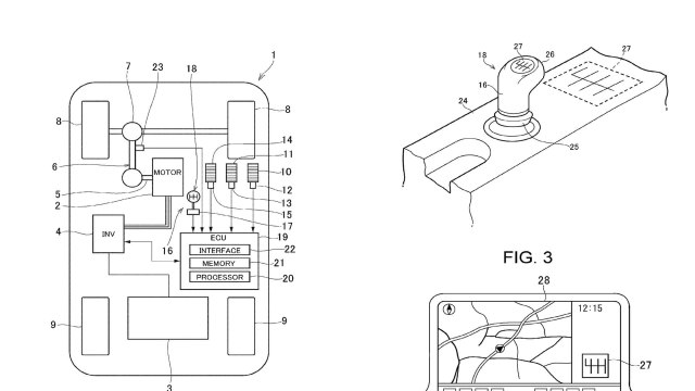
Toyota donosi simulirani manuelni menjač u svoja električna vozila. Ideja je zabavna, a istovremeno je to i način japanskog proizvođača da privuče i zadrži još vozača na svojim električnim vozilima.
Ovo je arhivirana verzija originalne stranice. Izvinjavamo se ukoliko, usled tehničkih ograničenja, stranica i njen sadržaj ne odgovaraju originalnoj verziji.
Danas je utorak, 13. januar, a ovo su istorijski događaji koji su obeležili današnji datum.
0:00
13.1.2026.
2 h
Rat u Ukrajini – 1. 419. dan. Energetska infrastruktura je ponovo na meti ruskih napada, dok su u Ukrajini na snazi isključenja struje i veoma niske temperature, na severu i do minus 24 stepena.
23:56
12.1.2026.
2 h
Iran je najverovatnije oslobodio grčki tanker "Sveti Nikola", koji je zaplenio u januaru 2024. godine, saopštila je danas služba za praćenje brodova Tanker Trackers.
23:45
12.1.2026.
2 h
Američki predsednik Donald Tramp upozorio je večeras sve državu koje posluje sa Iranom da će ubuduće plaćati carinu od 25 odsto na sve poslove sa SAD.
23:31
12.1.2026.
2 h
Vlada Grenlanda saopštila je da neće prihvatiti američku kontrolu nad teritorijom, nakon što je predsednik SAD Donald Tramp rekao da će "na ovaj ili onaj način" preuzeti ostrvo.
23:15
12.1.2026.
2 h
Od 13 esencijalnih vitamina, vitamin D je možda jedan od najjedinstvenijih.
21:57
12.1.2026.
4 h
Lekari u Londonu postigli su ono što se smatralo nemogućim - uspeli su da vrate vid i spreče slepilo kod pacijenata sa retkim, ali opasnim očnim stanjem poznatim kao hipotonija.
20:14
12.1.2026.
5 h
Pravilnim izborom namirnica možemo unaprediti mentalne sposobnosti, povećati fokus i smanjiti rizik od neurodegenerativnih bolesti poput demencije.
18:01
12.1.2026.
8 h
Urme se smatraju jednom od najzdravijih voćki na svetu, a mnogi stručnjaci preporučuju njihovu redovnu konzumaciju. Samo jedna urma svakog jutra može imati izuzetno povoljan uticaj na organizam.
15:48
12.1.2026.
10 h
Kognitivni pad je prirodan deo starenja koji se suptilno pojavljuje već u četrdesetim, a taj proces se posetepeno značajno ubrzava u određenim godinama života, utvrdili su naučnici.
13:50
12.1.2026.
12 h
Sukreator serije "Adolescencija" (Adolescence), Stiven Grejem, potvrdio je da je druga sezona u razvoju, iako je ova izuzetno uspešna Netfliksova serija prvobitno bila zamišljena kao mini-serija.
20:43
12.1.2026.
5 h
Glumac Oven Kuper (16), koji tumači jednu od uloga u seriji "Adolescencija" (Adolescence), upisao se u istoriju filmske industrije.
15:06
12.1.2026.
11 h
Zlatna groznica na Klondajku, vukovi u snegu Aljaske, avanture na otvorenom moru – pre 150 godina rođen je Džek London, autor romana "Zov divljine“ i "Morski vuk“.
14:44
12.1.2026.
11 h
Nakon filma "The Ward", koji se pokazao slabim završetkom rediteljske karijere, Džon Karpenter se povukao iz režije i vremenom je postao mnogo otvoreniji i oštriji u svojim javnim izjavama.
12:17
12.1.2026.
13 h
Film "Hamnet" osvojio je nagradu Zlatni globus za najbolje dramsko ostvarenje godine, na svečanoj ceremoniji održanoj u Los Anđelesu.
8:45
12.1.2026.
17 h
Skandinavski kanteraši dominiraju.
9:00
12.1.2026.
17 h
Novu mini-igru Demacia Rising možete isprobati već danas.
18:40
9.1.2026.
3 d
Nova sezona konačno može da počne!
18:08
8.1.2026.
4 d
Lenovo i FIFA najavljuju AI-pokretana tehnološka rešenja koja unapređuju inteligentne operacije, osnažuju igrače i trenere i donose imerzivnija iskustva za navijače na FIFA Svetskom prvenstvu 2026™.
9:00
7.1.2026.
5 d
Vidimo se u subotu, 24. januara u Palati Nauke u Beogradu!
14:17
6.1.2026.
6 d
Izuzetno atraktivan dizajn nove Toyote C-HR nije jedino što je izdvaja od konkurencije. Tu je i pogon na sva četiri točka, plag-in hibridna opcija, ali i brojna napredna tehnička rešenja.
21:30
12.1.2026.
4 h
Decenijama su nemački automobili bili simbol inženjerskog savršenstva i ekonomske moći te zemlje. Prodaja sada opada zbog loših rezultata u Kini, najvećem tržištu. Može li Indija da popuni prazninu?
20:00
12.1.2026.
6 h
AUDI E5 Sportback proglašen Automobilom godine 2026. u Kini.
18:00
12.1.2026.
8 h
Vozači u Velikoj Britaniji pogrešno su kažnjeni za prekoračenje brzinu nakon što se ograničenje promenilo.
16:00
12.1.2026.
10 h
Hummer H1 Tupaka Šakura iz 1996. odiše netaknutim duhom devedesetih.
14:00
12.1.2026.
12 h
Komentari 12
Pogledaj komentare