Nemački proizvođač osmislio je specijalni vazdušni jastuk koji se nalazi u prednjem nosaču krova, kako bi poboljšao bezbednost svojih kabriolet modela.
Zbog svoje specifične konstrukcije, automobili sa otvorenim krovom u određenim vrstama sudara, poput frontalnog sudara sa malim preklapanjem čeonih površina, nisu bezbedni u istoj meri kao modeli sa klasičnim fiksiranim krovom.
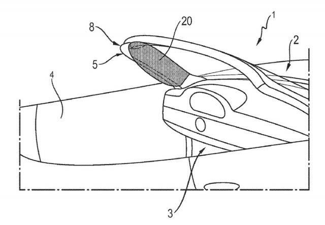
Zato je Porsche osmislio novi tip vazdušnog jastuka koji se nalazi u A stubu i koji treba da poboljša zaštitu vozača i suvozača u slučaju takvih i sličnih udesa. Ovaj vazdušni jastuk zvanično je registrovan u Patentnom zavodu SAD, a priloženi crtež pokazuje da prillikom aktiviranja pokriva A stub čitavom dužinom.
U Porscheu kažu da su njihovi testovi pokazali da novi tip jastuka može značajno da poboljša bezbednost u sudarima kada se tela vozača i suvozača usled inercije pokreću napred i u stranu, odnosno pod određenim uglom u odnosu na uzdužnu osu automobila.
Upotreba novih vazdušnih jastuka neće biti ograničena samo na kabriolete, jer može da doprinese većoj bezbednosti i kod vozila sa nepokretnim, čvrstim krovom.
Ovo je arhivirana verzija originalne stranice. Izvinjavamo se ukoliko, usled tehničkih ograničenja,
stranica i njen sadržaj ne odgovaraju originalnoj verziji.
Dok se ostatak Mediterana sprema za rekordne posete, jedno od najpopularnijih ostrva suočava se sa dramatičnim padom interesovanja. Turistička sezona na Kipru ozbiljno je uzdrmana,a najnoviji podaci pokazuju da su svi u velikom strahu od potpunog kraha sezone.
Kolumbijska vojska saopštila je da će u opštinu Silvija na jugozapadu te zemlje biti raspoređeno više od 500 vojnika, nakon teritorijalnog spora između dve autohtone grupe koji je izbio u četvrtak i izazvao sukobe u kojima je poginulo najmanje sedam ljudi.
Američki državni sekretar Marko Rubio danas kaže da su pregovori o kraju rata u Ukrajini obustavljeni zbog napretka, ali da su SAD spremne da se priključe ako bude šanse za postizanje rezultata.
Predsednik Srbije Aleksandar Vučić izjavio je danas da se priprema paket mera za penzionere koji će im mnogo značiti, pogotovo onim siromašnijima i najavio da će njihovi džepovi biti značajno puniji u kratkom vremenskom periodu.
Potpredsednik Vlade i ministar unutrašnjih poslova Ivica Dačić izjavio je danas da je tokom incidenata nakon skupa u subotu, 23. maja, u Beogradu povređeno 17 policijskih službenika.
"Postoje razlozi zašto su cene trešanja značajno porasle u poslednjih deset godina, ali nema opravdanja da dostignu 20 evra po kilogramu", kaže Davor Miklošić, vlasnik zanata Jara iz Novigrada Podravskog.
Potpredsednik Vlade i ministar unutrašnjih poslova Ivica Dačić izjavio je danas da je tokom incidenata nakon skupa u subotu, 23. maja, u Beogradu povređeno 17 policijskih službenika.
Rat u Ukrajini – 1.551. dan. U više ukrajinskih oblasti proglašena je vazdušna opasnost, a tokom noći izvedeni su napadi. Moskva i Kijev razmenjuju nove optužbe o raketnim i dronskim napadima.
Američki glumac Šaja Labaf suočava se s novim pravnim problemima nakon što je protiv njega podignuta optužnica zbog navodnog fizičkog sukoba koji se dogodio tokom proslave Mardi Grasa u Nju Orleansu početkom ove godine.
Glumac Brus Dern prisetio se napetog trenutka sa snimanja filma "Bilo jednom u Holivudu", tokom kojeg je reditelj Kventin Tarantino navodno zapretio Bredu Pitu da će biti "gotov sa glumom".
Majli Sajrus dobila je svoju zvezdu na holivudskoj Stazi slavnih, a tokom svečanosti podršku su joj pružili majka Tiš Sajrus, sestra Brendi Sajrus i verenik Maks Morando.
Oružje za borbu protiv prirodnog starenja zuba, koje ih s vremenom čini sve krhkijim i podložnijim oštećenjima izazvanim karijesom, nalazi se u posebnoj grupi matičnih ćelija smeštenih unutar zubne pulpe, koje nestaju sa godinama.
Stanovnici grada Mongbvalu koji se nalazi u epicentru epidemije ebole na istoku Demokratske Republike Konga napali su i zapalili šator zdravstvenog centra u kojem su se lečili oboleli od virusa.
U Demokratskoj Republici Kongo, tri volontera Crvenog krsta — Alikana Udumusi Augustin, Sezabo Katanabo i Adžiko Čandiru Vivijen — umrla su najverovatnije od ebole koju su, kako se veruje, dobili tokom rada sa telima zaraženih.
Stručnjaci upozoravaju da nedovoljno hodanja i sedelački način života povećavaju rizik od hroničnih bolesti, lošeg mentalnog zdravlja, slabije pokretljivosti, opadanja gustine kostiju i kognitivnog pada.
Danijel Redklif, glumac poznat po ulozi Harija Potera, u podkastu je otkrio svoj lični rang filmova iz čuvene franšize, izdvojivši "Dvoranu tajni" i poslednji deo kao omiljene, dok je "Polukrvnog princa“ stavio na dno liste.
Danas se dodelom Zlatne palme završava ovogodišnje, 79. izdanje Filmskog festivala u Kanu. Prema ocenama kritičara, trka za glavnu nagradu je potpuno otvorena jer nema jasnog favorita.
Ukrainian President Volodymyr Zelensky confirmed that Ukrainian forces used long-range drones to strike a Russian oil refinery located 700 kilometers from the Ukrainian border during the night of May 21–22.
Republicans have postponed a vote on a bill that would require President Trump to withdraw from the war with Iran, while Democrats and some Republicans are calling for Congress to reclaim its war powers authority.
Although most attention is focused on the deadlock in US-led peace talks and recent successful Ukrainian drone strikes on Russian refineries, Western policymakers should not ignore Ukraine’s northern border with Belarus, writes The Kyiv Independent.
Authorities in the Democratic Republic of the Congo have confirmed an Ebola case in South Kivu province, hundreds of kilometers away from the epicenter of the outbreak in Ituri province.
Today in Serbia, it will be partly cloudy. The northern parts will mostly remain dry, while in other regions rain, showers, and thunderstorms are expected. In the afternoon, these storms may locally bring hail or sleet.
Komentari 3
Pogledaj komentare