Zanimljivosti 14

05.01.2026.

9:00

BMW patentirao specijalne šrafove sa logotipom: Vozila više neće moći da popravlja svako?

Ova priča dodatno podgreva strah da moderni automobili postaju sve teži za popravku van ovlašćenih servisa.

Izvor: Autoblog, CarScoops

BMW patentirao specijalne šrafove sa logotipom: Vozila više neće moći da popravlja svako?
WIPO

Podeli:

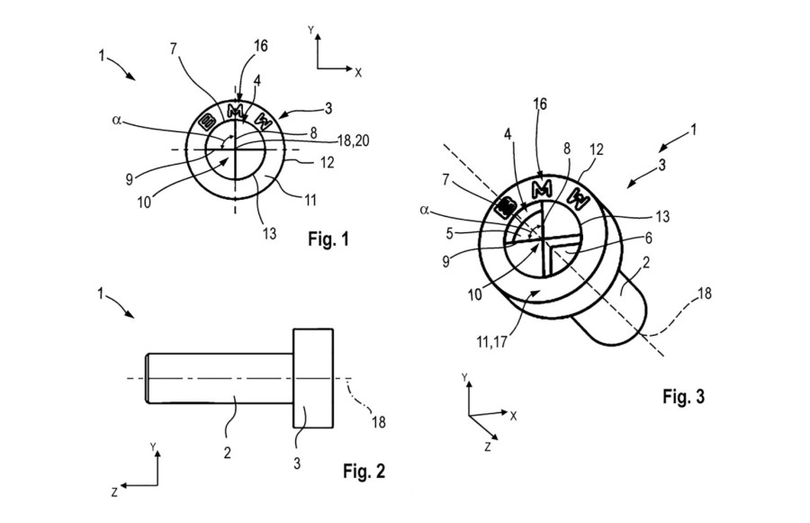
Dok pojedini proizvođači nastoje da vozila učine lakšim za održavanje i popravke, BMW izgleda razmatra suprotan pravac.

Prema pisanju Autobloga, nemački proizvođač je prijavio patent za specijalne šrafove čije su glave oblikovane po uzoru na BMW logotip.

BMW patentirao specijalne šrafove sa logotipom: Vozila više neće moći da popravlja svako?
WIPO

Umesto klasičnih šrafova, patent prikazuje nekoliko tipova glava, koje su podeljene u četiri segmenta, baš kao BMW amblem.

Dva segmenta su udubljena, dok su preostala dva ravna ili izdignuta, što znači da bi za njihovo odvrtanje bio potreban poseban, namenski alat.

BMW patentirao specijalne šrafove sa logotipom: Vozila više neće moći da popravlja svako?
WIPO

Na prvi pogled, ovakvi šrafovi mogu delovati atraktivno, naročito ako se koriste na vidljivim mestima u enterijeru ili ispod haube.

Međutim, za vlasnike i nezavisne servise to bi moglo da predstavlja ozbiljan problem, jer standardni alati ne bi bili dovoljni za osnovne popravke.

Ideja je naišla na negativne reakcije na internetu. Ljubitelji marke kritikuju potez, smatrajući ga dodatnom preprekom za one koji žele sami da održavaju svoje automobile.

Ipak, mnogi ističu da bi proizvođači alata iz "aftermarket" sektora brzo ponudili kompatibilna rešenja, verovatno i pre nego što bi ovakvi šrafovi dospeli u serijsku proizvodnju.

BMW patentirao specijalne šrafove sa logotipom: Vozila više neće moći da popravlja svako?
WIPO

Za sada nije poznato da li će BMW ove šrafove zaista primeniti u praksi. Patent je podnet u junu 2024, a objavljen krajem 2025. godine, ali kao i mnogi slični dokumenti, možda nikada neće izaći iz faze nacrta.

Ipak, cela priča dodatno podgreva strah da moderni automobili postaju sve teži za popravku van ovlašćenih servisa.

Podeli:

14 Komentari

Možda vas zanima

Svet

Sprema se hapšenje Olene Zelenske

Nacionalni antikorupcijski biro Ukrajine (NABU) i Specijalizovano tužilaštvo za borbu protiv korupcije prikupili su brojne osnove za hapšenje supruge Vladimira Zelenskog, Olene, saopštili su za Sputnjik pripadnici ruskih bezbednosnih agencija.

17:17

17.5.2026.

1 d

Podeli: