Zanimljivosti 6

04.04.2024.

20:16

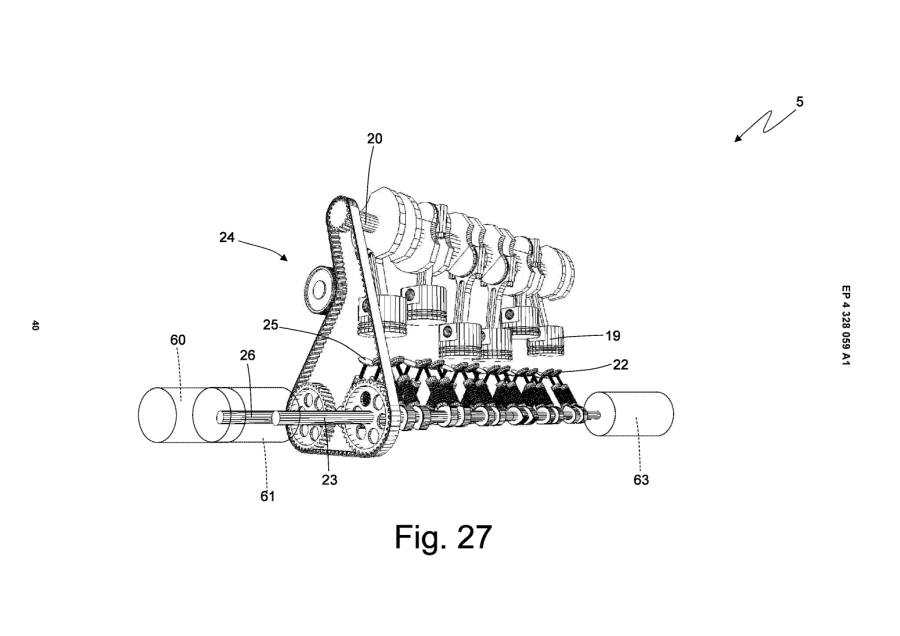
Nova tehnologija: Ferrari patentira motor na vodonik koji stoji naopako FOTO

Motori sa unutrašnjim sagorevanjem na vodonik jedan su od najnovijih trendova u automobilskom svetu.

Izvor: Revijahak

Nova tehnologija: Ferrari patentira motor na vodonik koji stoji naopako FOTO
Shutterstock/Mau47

Podeli:

Toyota puno ulaže u ovu tehnologiju, i već postoje trkački automobili koje pokreće novi motor. 

Sada, Ferrari je takođe podneo zahtev za patent za motor na vodonik, ali je u njihovom slučaju on okrenut naopako. Ovakav dizajn je toliko redak, da je viđan gotovo isključivo u borbenim avionima tokom Drugog svetskog rata.

Čini se da je glavni razlog za okretanje motora naopako u ovom slučaju bilo da se napravi mesto za rezervoare sa strane linijskog šestcilindričnog motora - sada je radilica na vrhu.

Bez obzira na to što ima prednosti, ovakav motor neizostavno sa sobom nosi i mane - obično je problem podmazivanje, jer ulje može da prodre u cilindre više nego što bi trebalo.

Ferrari nije u potpunosti objasnio kako će rešiti ovo, a nije za sada ni poznato da li će se koncept i realizovati ili će ostati samo na nivou ideje.

Nova tehnologija: Ferrari patentira motor na vodonik koji stoji naopako FOTO
Ferrari

Podeli:

6 Komentari

Možda vas zanima

Svet

Preokret: Oni preuzimaju Ormuz?

Ukrajina poseduje neke od najnaprednijih dron tehnoloških sistema na svetu i mogla bi da doprinese međunarodnim naporima za obezbeđivanje sigurnosti u Ormuskom moreuzu, izjavio je britanski ministar za oružane snage Al Kerns tokom posete Kijevu, piše Reuters.

16:54

11.4.2026.

4 h

Podeli: