Aktuelno 4

08.11.2024.

9:25

Srolaj mi telefon: Motorola radi na uređaju kakav još niste videli FOTO

Motorola punom parom radi na telefonu kakav još niste videli.

Izvor: B92

Srolaj mi telefon: Motorola radi na uređaju kakav još niste videli FOTO
Motorola

Podeli:

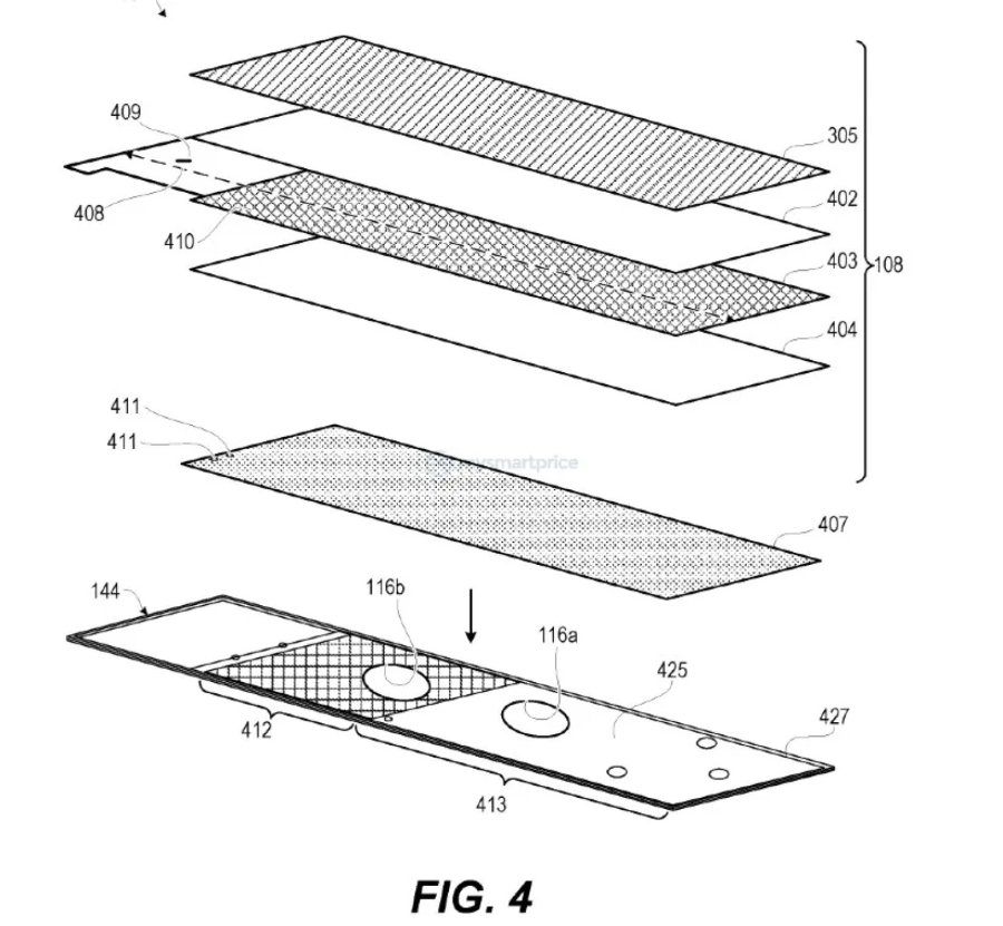
Ukoliko ste pratili MWC prošle godine, možda se sećate da je predstavljen koncept Motorola Rizr, "rollable" (zvaćemo ga "rolajući") telefon.

U suštini, u pitanju je uređaj koji svuda po sebi ima senzore otiska prsta, a sada je i zvanično podnet patent američkoj nadležnoj agenciji USPTO.

Patent se zove "upravljanje konstantim 'otisak prsta na displeju' lokacijama na rolajućem uređaju sa mnoštvom senzora", a Motorola je priložila skice telefona koji izgleda baš kao Rizr.

Za razliku od aktuelnih telefona na tržištu, Rizr će imati otisak prsta na više mesta po displeju, što znači da će korisnici moći da ih otključaju gde god da dirnu.

Pored ovoga, Rizr je prikazao inovativni displej koji može da se proširi od 5 do 6.5 inča, za šta je dovoljno samo dvaput da tapnete po ekranu. Kada nije produžen, displej se "uvija" nazad i služi kao sekundarni ekran za brza obaveštenja kao što su notifikacije ili slično.

Verovatno neće još stići na tržište, ali Motorola Rizr je svakako koncept za koji jedva čekamo da vidimo kako će da izgleda kada bude u rukama korisnika.

Podeli:

Tagovi

4 Komentari

Možda vas zanima

Svet

Ogromno nalazište nafte postaje nova meta energetskih divova

Lokalne i međunarodne energetske kompanije sve snažnije ulažu u argentinsko nalazište škriljca Vaca Muerta, dok kriza na Bliskom istoku i problemi u Ormuskom moreuzu povećavaju interes za izvore nafte i gasa izvan ratnih i geopolitički nestabilnih područja.

9:25

24.5.2026.

1 d

Podeli: