Visoki napon 14

28.03.2025.

7:52

Ford patentirao menjač za električni auto

Iako električna vozila imaju potpuno drugačije pogonske sisteme u poređenju sa SUS automobilima, to ne sprečava proizvođače da pokušaju da repliciraju osećaj vožnje na koji su vozači navikli.

Izvor: InsideEVs

Ford patentirao menjač za električni auto
Shutterstock/Motortion Films

Podeli:

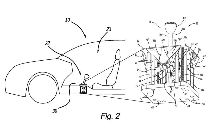
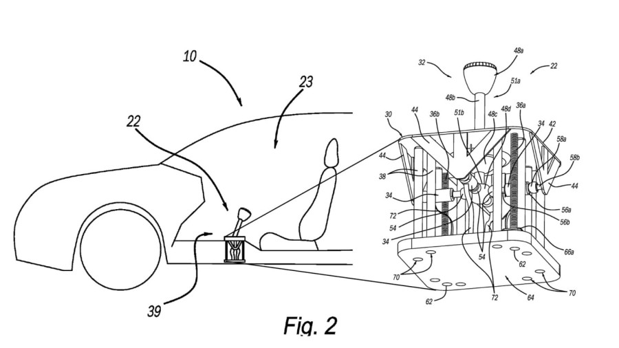
Najnoviji primer dolazi iz Forda, čija patentna prijava, objavljena 20. marta, otkriva detalje o "klasičnom" ručnom menjaču za električne automobile. Naravno, ne radi se o pravom menjaču sa zupčanicima, ali to nije ni cilj.

Patent, nazvan Shifter Assembly For Electric Vehicle (Sklop menjača za električno vozilo), prikazuje tradicionalnu ručicu menjača postavljenu u konzolu. Da je reč o, recimo, modelu Ford Mustang Dark Horse, ova ručica bi bila smeštena na tunelu menjača i povezana mehaničkim sponama sa šestostepenim menjačem.

U ovom slučaju, međutim, menjač je postavljen na blago podignutu sekciju poda i povezan sa različitim "aktuatorima" koje kontroliše elektronski upravljački sistem. Kako se navodi u patentu, ovaj sistem "upravlja protokom električne energije iz baterijskog paketa, regulišući brzinu motora i obrtni moment koji svaki motor proizvodi", prenosi sajt InsideEVs.

Ford patentirao menjač za električni auto
Ford

Drugim rečima, pomeranjem ručice napred i nazad šalju se signali koji menjaju izlaznu snagu motora, simulirajući promene stepena prenosa u klasičnom menjaču. Tehnički gledano, ovakva simulacija može učiniti da vozilo privremeno izgubi snagu zbog prekida u isporuci obrtnog momenta, ali u ovom slučaju poenta nije u performansama, već u osećaju vožnje.

Za sada, ovo je samo patent. Ford je prijavu podneo još 2023. godine, što znači da već neko vreme razmatra ovu ideju. Da li će se ona zaista naći u serijskoj proizvodnji ostaje neizvesno, ali jasno je da bi mogla biti zanimljiv način da tradicionalni entuzijasti lakše prihvate prelazak na električna vozila.

Podeli:

14 Komentari

Možda vas zanima

Neočekivan obrt

Iran izigrao Trampa

Pakistan je zvanično odobrio tranzit robe u Iran preko svoje teritorije i luka, pozicionirajući Karači, Port Kasim i Gvadar kao ključna logistička čvorišta za iransku trgovinu.

23:26

3.5.2026.

2 d

Svet

Eskaliralo je; Gori u Ormuskom moreuzu VIDEO

Dve iranske rakete pogodile su brod američke mornarice koji je pokušao da uđe u Ormuski moreuz, sprečivši ga na taj način da to i učini, prenela je danas agencija Fars, pozivajući se na lokalne izvore.

12:28

4.5.2026.

2 d

Podeli: